【博狗扑克(bogoupoker.com)报道】
【手机中国新闻】根据美国专利商标局8月2日披露的资料显示,苹果申请了一项与电子设备折叠覆盖层和折叠屏幕层有关的新专利,这意味着苹果未来将推出采用可折叠屏幕的设备。按照苹果的设计,折叠屏幕可以用在智能手机和平板上,配有机械铰链,但是它的应用范围不只如此。
苹果折叠屏专利
苹果折叠屏专利
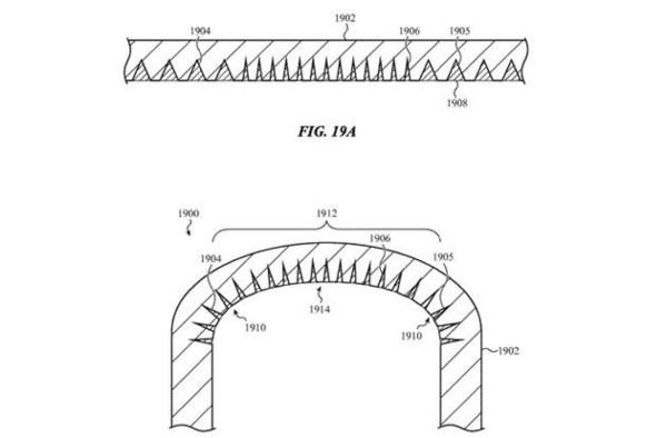
在基本形态下,设计由覆盖层和屏幕层组成,覆盖层与屏幕层叠在一起,覆盖层上有折叠区域,里面有陶瓷材料,共同组成电子设备的外表面。沿着折叠区域弯曲覆盖层,就可以让屏幕层和覆盖层在折叠、非折叠之间转换。这样的设计可以制造出能够用多种方式折叠的超薄屏幕,甚至可以让屏幕卷起来。
iPhone X
其实苹果早就在研究折叠屏,7月份一份专利文件显示苹果似乎想用柔性材料对抗屏幕压力。2017年10月苹果申请一项专利,当时还有传闻说苹果考虑与LG合作,在2020年之前生产柔性屏OLED iPhone手机,二者刚好吻合。然而,全面屏形态下的智能手机,在屏幕增大的同时,机身已经可以做的非常窄小了,折叠屏可能更适合不便随身携带的平板电脑。
博狗扑克(bogoupoker.com),亚洲最大的德州扑克线上现金平台!
今天注册Bodog博狗账户,您可以享受双份迎新奖金60元新手奖励+1000美金奖金








